| নং | শিরোনাম | সেবার ধাপ | কার্যকলাপ |
|---|---|---|---|
| | |||
| ১ | শিক্ষা প্রতিষ্ঠান ও অন্যান্য স্থানে স্থাপিত কম্পিউটার ও ভাষা শিক্ষা ল্যাব হতে সেবা গ্রহণ, অভিযোগ ও পরামর্শ। | দেখুন | |
| ২ | মাঠ পর্যায়ের সকল ধরনের আইসিটি সমস্যার সমাধানে সহায়তা প্রদান। | দেখুন | |
| ৩ | স্পেশাল ভাইটাল রেজিস্টেশন সিস্টেম | দেখুন | |
| ৪ | মাল্টিপল ইন্ডিকেটর ক্লাষ্টার সার্ভে | দেখুন | |
| ৫ | আদমশুমারী ও গৃহ গনণা | দেখুন | |
| ৬ | জনসংখ্যা বিষয়ক পরিসংখ্যান | দেখুন | |
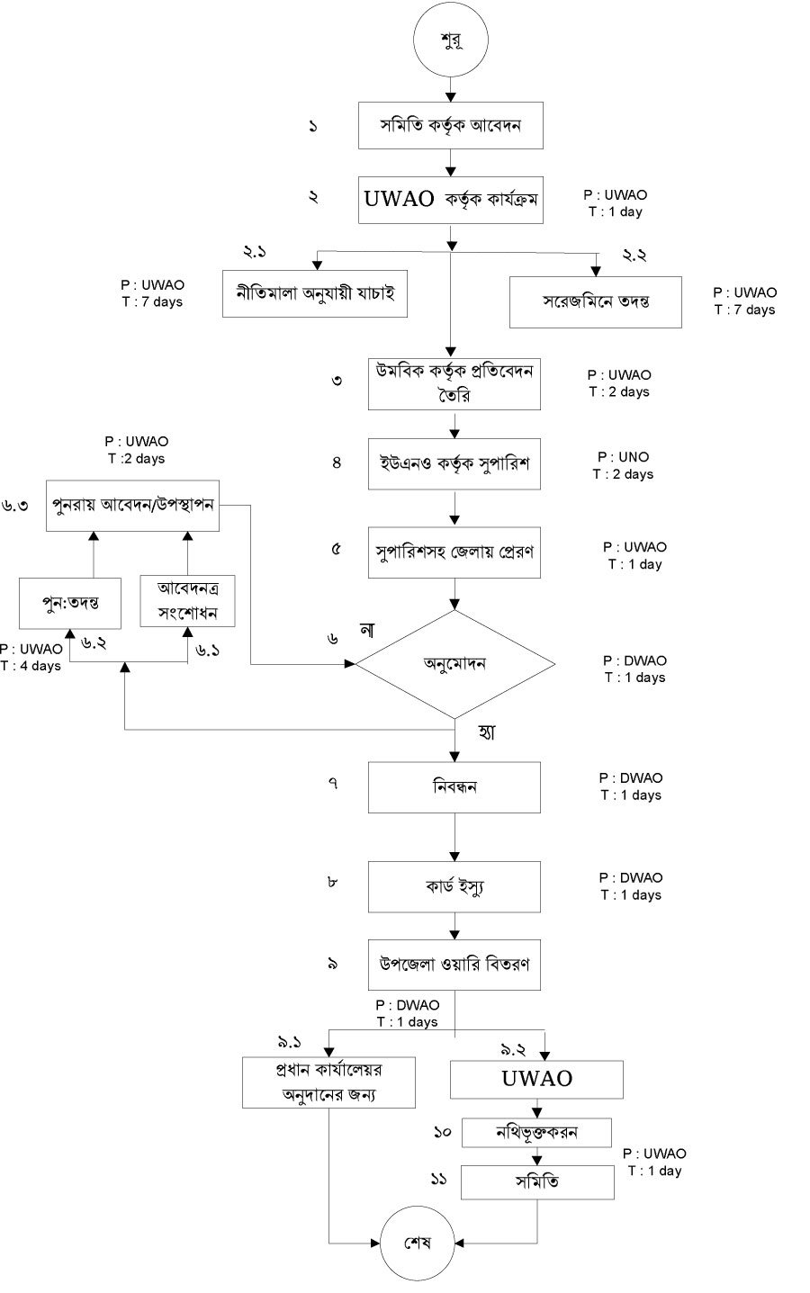
| ৭ | স্বেচ্ছসেবী মহিলা সমিতির রেজিস্টেশন | দেখুন | |
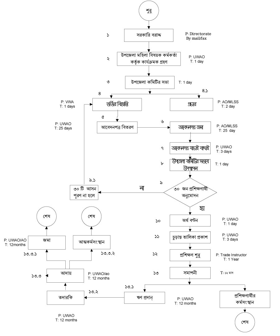
| ৮ | মহিলা প্রশিক্ষণ কেন্দ্র | দেখুন | |
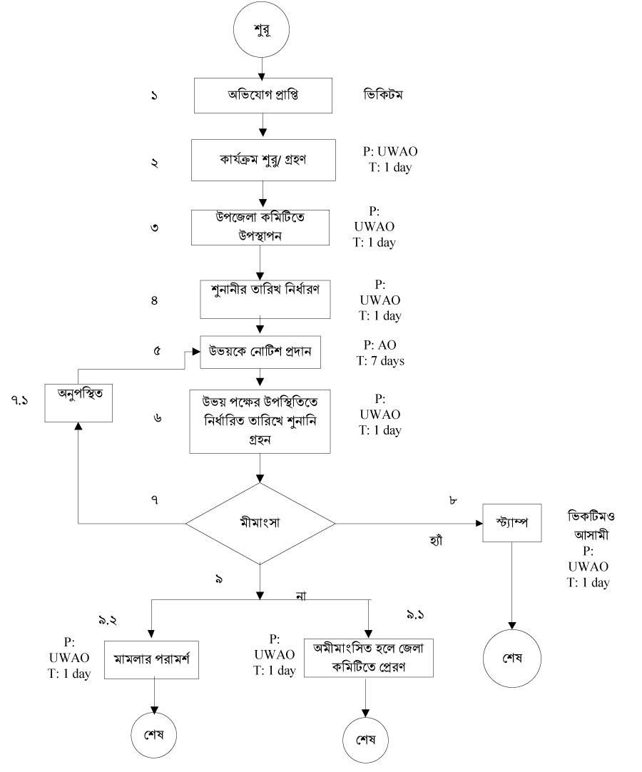
| ৯ | নারী ও শিশু নির্যাতন প্রতিরোধ | দেখুন | |
| ১০ | মাতৃত্বকালীন ভাতা | দেখুন |